全部服务分类
  • 商标注册1专区

  • 申请商标专区

  • 商标套餐专区

  • 白酒商标转让专区

  • 商标转让专区

  • 版权登记专区

  • 城市商标注册专区

  • 中国商标转让专区

为什么注册商标无法保证100%成功?

2019-11-06 为什么注册商标无法保证100%成功?

注册商标的朋友肯定发现了,商标代理机构往往只会提示风险,给出大概的成功率,但很少能够拍胸脯保证这个商标一定能成功的。其实这不是代理机构业务不精,而是现实里会遇到几...

全国第一个县域公共品牌“长寿巴马”注册商标

2019-11-06 全国第一个县域公共品牌“长寿巴马”注册商标

一品标局网讯,12月7日,中国-东盟传统医药健康旅游国际论坛在巴马瑶族自治县举行,论坛上正式发布了“长寿巴马”注册商标​。...

金典商标告诉你,什么样的情况算商标侵权

2019-11-06 金典商标告诉你,什么样的情况算商标侵权

现在商标侵权的案例越来越多,为了保护我们的商标,我们除了要及时申请商标外,还要对商标侵权有一定的了解,及时发现商标侵权的行为,具体侵害商标权的行为有以下5种...

芜湖名小吃“被蹭名” 商标维权获法院支持

2019-11-06 芜湖名小吃“被蹭名” 商标维权获法院支持

芜湖小吃美名远扬,市民熟知的名小吃金字招牌,往往是经营者多年打拼,靠着实力和口碑创出来的,名气出来了,伴随而来的就是各类“蹭名”、“蹭热度”的侵权行为。近日,芜湖...

商标法论文二十三:论侵犯注册商标犯罪的法律

2019-11-06 商标法论文二十三:论侵犯注册商标犯罪的法律

近年来随着工业技术水平的提高和劳动力成本的低廉,我国成为越来越多国际商品的原产地,许多企业的主要业务是接受外贸定单.为境外公司定牌加工完商品后再出口到世界各地。因...

广东江门办理可获商标奖补扶持 注册商标达4.8万

2019-11-06 广东江门办理可获商标奖补扶持 注册商标达4.8万

一品标局网小编从江门市工商局获悉,该市推动商标品牌战略取得明显成效,近5年每年平均商标注册申请量逾5000件,截至发稿前,全市注册商标达到4.8万件;全市拥有国家驰名商标24件...

建立一个高端奢侈时装品牌的过程

2019-11-06 建立一个高端奢侈时装品牌的过程

建立时尚品牌存在两种不同方法,这两种方法来源于时尚品牌的两个不同的商业模型。...

韩都衣舍互联网女装品牌发展的红与黑

2019-11-06 韩都衣舍互联网女装品牌发展的红与黑

就目前看来,网红经济的兴起和大牌服饰的压境让野蛮生长的淘品牌一度少了往日的光彩,韩都衣舍成为屈指可数的互联网女装品牌之一。 “前两年线上品牌非常好做,能坚持下来的比...

阿里注册不了成立“达摩院”商标怎么办?

2019-11-06 阿里注册不了成立“达摩院”商标怎么办?

在云栖大会上,马云宣布阿里巴巴宣布成立“达摩院”(其实是研究院),“达摩院”是马云创新的起名方法,能够让其快速地被识别。...

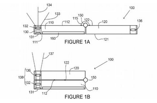
微软“Surface Phone”可折叠设备摄像头专利曝光

2019-11-06 微软“Surface Phone”可折叠设备摄像头专利曝光

多年来,我们一直听到有关微软“Surface Phone”的传言,这些传言随着时间的推移而渐渐演变成了我们所知的“仙女座”,据称,仙女座设备是款可折叠的平板电脑,其外形不像我们今天...