多年来,我们一直听到有关微软“Surface Phone”的传言,这些传言随着时间的推移而渐渐演变成了我们所知的“仙女座”,据称,仙女座设备是款可折叠的平板电脑,其外形不像我们今天可在市面上见到的任何东西。
近日,微软的一个可折叠设备的专利曝光,该专注于相机。

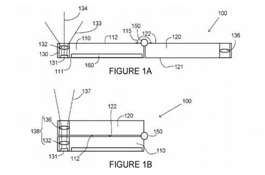
受制于智能手机或者平板电脑轻薄的机身,目前市面上支持光学变焦的手机并不多,如果不给镜头以巨大的机身内部空间,光学变焦就不可能实现。
根据微软专利的描述,这个设备的一侧具有一个120度视野的传感器,另一侧具有光学装置,当光学装置覆盖在传感器上方时,整个摄像头就具有60度或者90度的视场,这会产生缩放效果,但不影响图像质量(无损变焦)。

微软的专利中还说,这种方案可以用于任何类型的设备,包括智能手机、平板电脑、笔记本电脑等。
自微软2014年收购诺基亚设备与服务部门以来,微软的Lumia系列手机一直凭借PureView技术因其成像质量而出名,虽然Lumia整个品牌,包括Windows Phone/Windows 10 Mobile系统,都被微软判了“死缓”,不过我们今天看到,在移动设备上,微软仍在努力研发,他们到底在憋什么大招,谁知道呢?
上一篇:阿里注册不了成立“达摩院”商标怎么办?
下一篇:国内实施即时兑现专利申请和授权项目
便捷链接:微软“Surface,Phone”可折叠
本文来源:网络?买卖商标注册授权入驻“天猫”“京东”“拼多多”“抖音头条”“商标百科”
版权说明:上述为转载或编者观点,不代表亿佰倍懂商标意见,不承当任何法律责任
亿佰倍懂商标官方微信
欢迎关注亿佰倍懂
微信号:K58158 热门TAGS
购买上海商标 商标复审 商标撤三答辩 商标驳回复审 国际商标驳回 知名商标转让 白酒商标网 19类商标转让 18类商标转让 17类商标转让 16类商标转让 15类商标转让 14类商标转让 13类商标转让 11类商标转让 12类商标转让 10类商标转让 9类商标转让 8类商标转让 7类商标转让 6类商标转让 5类商标转让 4类商标转让 3类商标转让 2类商标转让 1类商标转让 T恤商标转让 红酒商标转让 黄酒商标转让 水饺商标转让 糖果商标转让 闲置商标转让 商标购买网站 月饼商标转让 购买月饼商标 购买牛奶商标 牛奶商标转让 购买餐饮商标 餐饮商标转让 啤酒商标转让 购买啤酒商标 购买酒类品牌 酒类品牌转让 购买饮料商标 饮料商标转让 食品商标转让 购买食品商标 购买镀膜商标 镀膜商标转让 机油商标转让 购买机油商标 头枕商标转让 购买头枕商标 车衣商标转让 购买车衣商标 购买车贴商标 车贴商标转让 凉垫商标转让 睡袋商标转让 包子商标转让
联系方式
【商标网】
企业QQ:1728988888
手机: 18211558558
官方微信:K58158
广东(总部)北京(分部)深圳(分部)

*截止
,共有人阅读了本文。


40
加工服务