全部服务分类
  • 商标注册1专区

  • 申请商标专区

  • 商标套餐专区

  • 白酒商标转让专区

  • 商标转让专区

  • 版权登记专区

  • 城市商标注册专区

  • 中国商标转让专区

LED灯属于第几类商标?

2019-11-06 LED灯属于第几类商标?

LED的中文名字是发光二极管结。是一种能够将电能转化为可见光的固态的半导体器件,它可以直接把电转化为光。LED的心脏是一个半导体的晶片,晶片的一端附在一个支架上,一端是负...

电脑椅属于第几类商标

2019-11-06 电脑椅属于第几类商标

电脑椅是一种椅子,有多种分类,已广泛普及于人们的工作和学习及生产场所。具有一定的人体工学性,有利于健康。在现在的市面上,我们可以购买挑选到各式各样的电脑椅,大多数...

撤销对大数据公司商标授权 迅雷发公告“撇关系

2019-11-06 撤销对大数据公司商标授权 迅雷发公告“撇关系

11月28日上午消息,迅雷今日发布公告,称迅雷金融、迅雷易贷、迅雷小游戏、迅雷爱交易系迅雷大数据信息服务有限公司及其子公司经营的业务,并非迅雷集团旗下业务。迅雷已正式撤...

神秘AR初创公司Magic Leap的首款设备或许名为“M

2019-11-06 神秘AR初创公司Magic Leap的首款设备或许名为“M

根据最新的商标申请​,神秘AR初创公司Magic Leap的首款设备或许名为“Magic Leap One”。...

节能灯属于第几类商标?

2019-11-06 节能灯属于第几类商标?

现在的家庭使用钨丝灯泡的越来越少了,基本上都被节能灯替代。节能灯的亮度、寿命比一般的白炽灯泡优越,尤其是在省电上口碑极佳。节能灯有U型、螺旋型、花瓣型等,功率从3瓦到...

吸顶灯属于第几类商标?

2019-11-06 吸顶灯属于第几类商标?

灯饰是家居装修中的重要一员,正所谓,灯饰选的好,老公回家早。据统计,吊灯和吸顶灯是当下家庭中选择比较多的两类灯饰,很多人在选购时不知道该买哪种。二者对比起来,吸顶...

拉萨市商标注册总量破8000件

2019-11-06 拉萨市商标注册总量破8000件

一品标局网讯,今年以来,拉萨市工商系统认真贯彻落实《拉萨市商标品牌战略实施意见》,牢牢把握“企业为主、政府推动、部门协调、社会参与”的商标战略工作格局,以促进经济...

筒灯属于第几类商标?

2019-11-06 筒灯属于第几类商标?

筒灯在商业照明中主要提供均匀、舒适柔和的功能性的基础照明,布灯时主要考虑灯具间距、地面的照度和均匀性,以及灯具本身与天花的匹配度。筒灯,一般多为圆筒状,所以叫筒灯...

武夷山举行中国茶叶产业集群品牌发展推进会

2019-11-06 武夷山举行中国茶叶产业集群品牌发展推进会

日前,由南平市人民政府、福建省品质技术监督局、福建省品牌建设促进会、福建省广播影视集团主办,南平市品质技术监督局、武夷山市人民政府、福建省国立品牌发展研究中心、福...

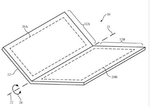
苹果可折叠iPhone的OLED屏幕或由京东方供应

2019-11-06 苹果可折叠iPhone的OLED屏幕或由京东方供应

一品标局网讯,11月28日消息,据国外媒体报道,美国专利商标局公布的文件显示,苹果正在研发可折叠iPhone,而现在外媒报道,苹果可折叠iPhone的OLED屏幕或由国内屏幕厂商京东方供应。...