全部服务分类
  • 商标注册1专区

  • 申请商标专区

  • 商标套餐专区

  • 白酒商标转让专区

  • 商标转让专区

  • 版权登记专区

  • 城市商标注册专区

  • 中国商标转让专区

达刚路机取得6项实用新型专利证书

2019-11-06 达刚路机取得6项实用新型专利证书

达刚路机11月24日发布公告称,公司近期取得了由中华人民共和国国家知识产权局颁发的6项实用新型专利证书,包括升降顶棚、一种撒布遮罩装置、皮带机刮料装置、水泥净浆的循环装置...

新疆科技成果维药深加工专利转让 推进科技扶贫

2019-11-06 新疆科技成果维药深加工专利转让 推进科技扶贫

近日,记者从中国科学院新疆理化技术研究所获悉,由该所资源化学研究室转让给新疆恩萨尔维吾尔医饮片药业有限公司的系列专利,日前已完成专利变更手续,正式完成专利转让。科...

欧式家具属于第几类商标

2019-11-06 欧式家具属于第几类商标

欧式家具是欧式风格装修的家具,以意大利、法国、英国和西班牙风格的家具为主要代表。讲究手工精细的裁切雕刻。其中,欧式家具以手工雕刻见长,法国和意大利是世界范围内家具...

竹家具属于第几类商标

2019-11-06 竹家具属于第几类商标

竹家具一个新兴的低碳产业,竹材因其无需栽植,生长快速,材质硬度高,超强的韧性。是取代实木的理想家具用材,对于森林的保护作用效果明显。竹产业集良好的生态、经济和社会...

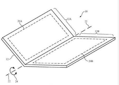
苹果公司可折叠iPhone的屏幕或由京东方供应

2019-11-06 苹果公司可折叠iPhone的屏幕或由京东方供应

11月28日消息,据国外媒体报道,美国专利商标局公布的文件显示,苹果正在研发可折叠iPhone,而现在外媒报道,苹果可折叠iPhone的OLED屏幕或由国内屏幕厂商京东方供应。...

宁德专利申请受理同比增长9.85%,外观专利申请

2019-11-06 宁德专利申请受理同比增长9.85%,外观专利申请

今年1~9月,福建宁德市专利申请受理2432件,同比增长9.85%,增幅居全省第4位。其中,实用新型专利申请占49.18%。近日,市知识产权局对今年1~9月全市专利申请和授权情况进行了通报。...

青海西宁甘河今年取得20项科技专利产品

2019-11-06 青海西宁甘河今年取得20项科技专利产品

近年来,青海西宁经济技术开发区甘河工业园区以推动传统产业转型升级为目标,加大政策支持和引导,激发企业创新动力活力,不断提升园区科技水平。通过科技创新和专利产品升级...

“上海航运指数”商标被上海航交所成功注册

2019-11-06 “上海航运指数”商标被上海航交所成功注册

经过近20年发展,上海航交所的航运类指数目前已经覆盖了集装箱、干散货、油轮、买卖船、宏观经济(“一带一路”)、船员、航运企业景气度等航运相关各大细分市场领域,共形成了...

中科院广州能源所生物柴油制备方法获专利技术

2019-11-06 中科院广州能源所生物柴油制备方法获专利技术

近日,由中科院广州能源研究所科研人员完成的“一种增溶易分离离子液体均相催化制备生物柴油的方法”获国家发明专利技术授权。...

红木家具属于第几类商标

2019-11-06 红木家具属于第几类商标

红木家具是指用酸枝、花梨木等古典红木制成的家具,是明清以来对稀有硬木优质家具的统称。中国传统古典红木家具流派中,主要有京作、苏作、东作、颍作等。京作历史上是御制、...