最近几天接连有卖家在后台联系小编,向小便反映自己的商标在日本被抢注了。发生过程大致相同,几个卖家都是已经在美国和欧盟注册了商标,现在想要进入日本站,但是前两天突然收到一个电话提醒他说日本站不能用这商标进行品牌备案,有人已经注册了,希望卖家能支付一定的费用赎回该商标。整个事件其实就是典型的抢注他人商标敲诈勒索的行为。在此一品标局的小编也提醒各位,如今的企业之争是知识产权的竞争,提前注册保护自身的商标和专利也成为了每个企业必做只事。一品标局基于此,打造知识产权保护平台,提供商标转让,商标注册,买商标等服务。

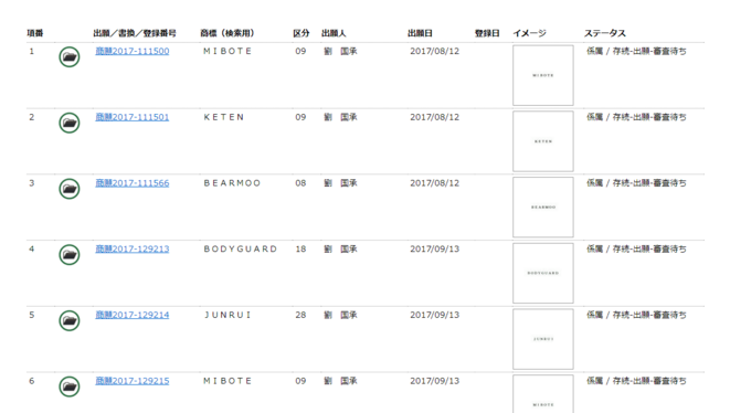
通过线索追踪发现,这个抢注的人会定期抢注一堆商标,均是选一些美国站已经做得比较不错的品牌,如果查到该品牌在日本有销售,但是没有注册,就会去进行抢注。可见此人对跨境电商领域有着深入的了解,通过对跨境电商品牌的数据检索,运用销量排查寻找目标卖家,进行敲诈勒索。
被抢注后有以下几种主要的争取方式:
一、联系对方,赎回商标;
二、如果对方申请的商标仍然在公告期,可以提异议;
三、对方商标已经注册成功,则可以提撤销。
第一种方式已经无需小便赘述,下面下边主要介绍一下第二第三种方式。
从商标公报的发行日期开始2个月内,我们向专利局提出注册异议申述后,日本专利局会将副本发送给该商标的权利人。日本专利局针对我们的异议申请材料进行审查,在异议理由不成立的情况下,会做出维持注册的认定。如果认为的理由恰当,会将撤销理由通知发给该商标的权利人,并听取权利人的意见。依案件的具体情况,平均处理期为8个月。(在公告期内提起商标异议的主要流程)
而撤销对方商标则可以从一下七个理由着手提起:
(1) 近似混淆
(2) 缺乏显著性
(3) 错误联系
(4) 没有真实使用意图
(5) 连续三年未使用
(6) 欺骗行为
(7) 淡化驰名商标
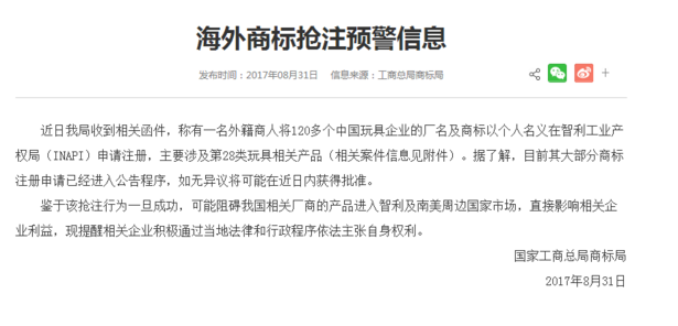
2017年8月31日中国商标局已经发布海外商标抢注预警信息,120多个玩具企业的商标在智利被抢注,而今日本商标又面临抢注风波,商标抢注已经对跨境电商产生了严重的影响,再不重视起来,下一个中招的可能就是你!

上一篇:板鸭取名刘德华 天王请求撤销商标 侵犯名誉权
下一篇:“皮皮鲁”引来的商标纠纷
便捷链接:心惊!日本又现职业商标抢
本文来源:网络?买卖商标注册授权入驻“天猫”“京东”“拼多多”“抖音头条”“商标百科”
版权说明:上述为转载或编者观点,不代表亿佰倍懂商标意见,不承当任何法律责任
亿佰倍懂商标官方微信
欢迎关注亿佰倍懂
微信号:K58158 热门TAGS
购买上海商标 商标复审 商标撤三答辩 商标驳回复审 国际商标驳回 知名商标转让 白酒商标网 19类商标转让 18类商标转让 17类商标转让 16类商标转让 15类商标转让 14类商标转让 13类商标转让 11类商标转让 12类商标转让 10类商标转让 9类商标转让 8类商标转让 7类商标转让 6类商标转让 5类商标转让 4类商标转让 3类商标转让 2类商标转让 1类商标转让 T恤商标转让 红酒商标转让 黄酒商标转让 水饺商标转让 糖果商标转让 闲置商标转让 商标购买网站 月饼商标转让 购买月饼商标 购买牛奶商标 牛奶商标转让 购买餐饮商标 餐饮商标转让 啤酒商标转让 购买啤酒商标 购买酒类品牌 酒类品牌转让 购买饮料商标 饮料商标转让 食品商标转让 购买食品商标 购买镀膜商标 镀膜商标转让 机油商标转让 购买机油商标 头枕商标转让 购买头枕商标 车衣商标转让 购买车衣商标 购买车贴商标 车贴商标转让 凉垫商标转让 睡袋商标转让 包子商标转让
联系方式
【商标网】
企业QQ:1728988888
手机: 18211558558
官方微信:K58158
广东(总部)北京(分部)深圳(分部)

*截止
,共有人阅读了本文。


40
加工服务