美图秀秀是2008年10月8日由厦门美图网科技有限公司研发、推出的一款免费图片处理的软件。2018年6月底,美图秀秀转型,从一款工具类的软件转型成为社交平台类的软件。在商标保护方面,美图公司从2003年3月开始申请“美图”字样相关商标。截止目前为止,美图公司名下申请共有商标3145件,涵盖各个类别。

爱美不仅是种需求还是一种信仰,人类有一种爱美的本性。
罗曼·罗兰的话或许足以诠释「美」的意义,这一由人性而发的需求其背后也自然蕴含着巨大的机会和市场,而在这个市场当中,美图秀秀无疑是陪伴用户最多和最久的那个产品。
美图秀秀是2008年10月8日由厦门美图网科技有限公司(以下简称美图公司)研发、推出的一款免费图片处理的软件,致力于为全球用户提供专业智能的拍照、修图服务 ,并在2017年获得美国《时代周刊》最值得推荐的25款App之一。在美图集团2017年的财报上,美图秀秀的月活人数为1.17亿,同比增长14.8%,十年过去,它依然排在影像类应用的第一名。
2018年6月底,美图秀秀转型,从一款工具类的软件转型成为社交平台类的软件。
在方面,美图公司也没闲着,从2003年3月开始申请“美图”字样相关商标。截止目前,美图公司名下申请共有商标3145件,涵盖各个类别。

其中“美图秀秀”商标35件,主要集中在第40、9、38、42等类别。2008年12月8日申请了第一枚“美图秀秀”商标,并注册成功,专用权期限为:2010年10月14日至2020年10月13日。

第29500202号“美图秀秀”商标被驳回
据商标评审委员会网站发布的决定文书显示: 第29500202号“美图秀秀”商标被驳回了!理由是:申请商标“美图秀秀”文字与引证商标一第12897659号中显著标识之一的“美机秀秀”文字、引证商标二第21119305号中显著标识之一的“美茶秀秀”文字、引证商标三第12948973号中显著标识之一的“美图”文字相比较,在文字组成、呼叫、含义等方面近似。
查询得知: 第29500202号“美图秀秀”商标是美图公司于2018年3月8日申请的,核定使用范围为第40类的材料处理信息; 电镀; 染色; 木器制作; 书籍装订; 吹制玻璃器皿; 烧制陶器; 榨水果; 剥制加工; 服装制作; 电影胶片冲洗; 印刷; 照相排版; 雕刻; 艺术品装框等商品上。

第29500202号“美图秀秀”商标
随后美图公司向商评委提出复审,主要理由为: 申请商标与驳回决定中引证商标在构成要素、呼叫、含义及整体外观等方面区别明显,未构成近似商标。申请商标经实际使用已具有一定知名度,不会造成消费者的混淆和误认。引证商标一已被提出撤销申请,引证商标二已被提出无效宣告申请,引证商标三处于诉讼程序中,申请人请求暂缓审理本案。
经国家知识产权局复审认为: 申请商标“美图秀秀”文字与引证商标一中显著标识之一的“美机秀秀”文字、引证商标二中显著标识之一的“美茶秀秀”文字、引证商标三中显著标识之一的“美图”文字相比较,在文字组成、呼叫、含义等方面近似。申请商标指定使用的雕刻、艺术品装框等复审服务与上述引证商标指定使用的雕刻、艺术品装框等服务属于相同或类似服务,申请商标与上述引证商标分别注册使用在上述相同或类似服务上易导致消费者的混淆和误认,申请商标与上述引证商标已分别构成使用在相同或类似服务上的近似商标。
申请商标在复审服务上的注册申请予以驳回。
经查询得知引证商标一、二、三均为企业注册,而且都注册于第40类,并且注册时间都早于美图公司。经企查查查询得知引证商标一第12897659号“美机秀秀 机及图”是由上海蓝竹投资管理有限公司于2013年7月10日申请,专用权期限为2014年12月14日至于2024年12月14日。他们还申请了旺角纯 K,不过目前商标处于无效状态。

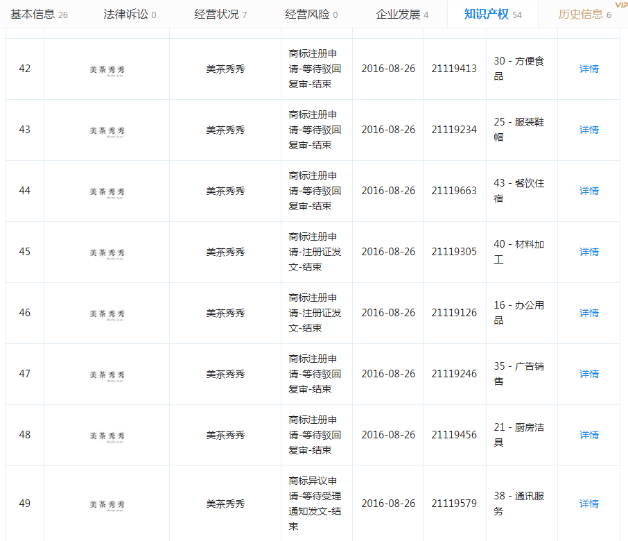
引证商标二第21119305号“美茶秀秀Meicha xiuxiu”是由深圳前海创客茶业有限公司于2016年8月26日申请,企查查数据显示:其公司名下共有52枚商标,他们还申请了“美茶秀秀”商标第30类、25类、43类、16类、35类、21类、38类,目前只有第40类、16类注册成功。

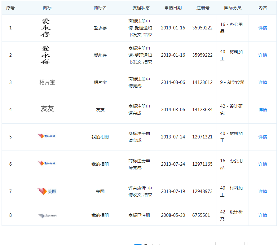
引证商标三第12948973号“美图及图”,是由我的相册(北京)科技有限公司于2013年07月19日申请,专用权期限为2015年12月14日至2025年12月13日。公司名下,不仅有“美图”商标,还有“友友”、“我的相册”等商标,企查查数据显示,这些商标大部分已注册成功。

祸不单行:“meitu”商标也被驳回
这是一场持续了两年多的纠纷!
为了申请45类防御性保护类商标,美图从2017年就开始在第45类申请注册“meitu”。

“meitu”商标
2017年5月,国家工商总局商标评审委员会认为该商标与珠海市魅族科技有限公司2015年6月26日申请的“MEIZU”商标(核定使用服务:第45类)在字母构成、呼叫发音等方面相近,仅在个别字母和字母大小写方面存在不同,整体上不存在显著差异,容易造成相关公众混淆误认为由拒绝了美图公司的商标注册请求。

“MEIZU”商标
不过,美图并未放弃。2019年4月,美图向北京知识产权法院提起上诉。
美图认为, 与国家知识产权局所述相反,两个商标在含义、呼叫及整体视觉效果方面差异显著,不构成近似商标,应当予以注册;并且,在多类别商品中,有众多含有“meitu”和“MEIZU”的相关商标均已被核准注册;此外,美图在国内市场已具有较高知名度,消费者能够一一对应,不会误会。并将国家知识产权局告上法庭。
8月5日,据中国裁判文书网显示,法院驳回了美图申请撤销国家知识产权局作出的“MEITU”商标驳回复审决定。
对此,美图方面回应: 被驳回的45类,美图申请该类目主要是用于防御性保护,并不涉及目前美图业务,此驳回不影响美图正常经营。
小编只想说:注册不易,且注且珍惜!
附: “MEITU”商标诉讼被驳回判决书全文(点击标题阅读原文)
附:第29500202号“美图秀秀”商标驳回复审决定书
关于第29500202号“美图秀秀”商标
驳回复审决定书
商评字[2019]第0000181454号
申请人:厦门美图网科技有限公司
委托代理人:北京万慧达知识产权代理有限公司
申请人对我局驳回其第29500202号“美图秀秀”商标(以下称申请商标)注册申请不服,向我局申请复审。我局予以受理,现已审理终结。
申请人复审的主要理由:申请商标与驳回决定中引证的第12897659号“美机秀秀 机及图”商标(以下称引证商标一)、第21119305号“美茶秀秀Meicha xiuxiu”商标(以下称引证商标二)、第12948973号“美图及图”商标(以下称引证商标三)在构成要素、呼叫、含义及整体外观等方面区别明显,未构成近似商标。申请商标经实际使用已具有一定知名度,不会造成消费者的混淆和误认。引证商标一已被提出撤销申请,引证商标二已被提出无效宣告申请,引证商标三处于诉讼程序中,申请人请求暂缓审理本案。申请人请求准予申请商标初步审定。
申请人在复审程序中提交了申请商标的宣传使用证据。
经复审查明:至本案审理之时,引证商标一、二、三为有效在先注册商标。
经复审认为,申请商标“美图秀秀”文字与引证商标一中显著标识之一的“美机秀秀”文字、引证商标二中显著标识之一的“美茶秀秀”文字、引证商标三中显著标识之一的“美图”文字相比较,在文字组成、呼叫、含义等方面近似。申请商标指定使用的雕刻、艺术品装框等复审服务与上述引证商标指定使用的雕刻、艺术品装框等服务属于相同或类似服务,申请商标与上述引证商标分别注册使用在上述相同或类似服务上易导致消费者的混淆和误认,申请商标与上述引证商标已分别构成使用在相同或类似服务上的近似商标。
另,申请人称申请商标经实际使用已具有一定知名度,但申请人提交的在案证据不足以支持其主张。
依照《中华人民共和国商标法》第三十条和第三十四条的规定,我局决定如下:
申请商标在复审服务上的注册申请予以驳回。
申请人对本决定不服,可以自收到本决定书之日起三十日内向北京知识产权法院起诉,并在向法院递交起诉状的同时或者至迟十五日内将该起诉状副本抄送或者另行书面告知我局。
合议组成员:刘影
孟原玉
姚旭祺
2019年08月05日
来源:IPRdaily中文网
作者:柚子
便捷链接:1.17亿月活人数的“美图秀
本文来源:网络?买卖商标注册授权入驻“天猫”“京东”“拼多多”“抖音头条”“商标百科”
版权说明:上述为转载或编者观点,不代表亿佰倍懂商标意见,不承当任何法律责任
亿佰倍懂商标官方微信
欢迎关注亿佰倍懂
微信号:K58158 热门TAGS
购买上海商标 商标复审 商标撤三答辩 商标驳回复审 国际商标驳回 知名商标转让 白酒商标网 19类商标转让 18类商标转让 17类商标转让 16类商标转让 15类商标转让 14类商标转让 13类商标转让 11类商标转让 12类商标转让 10类商标转让 9类商标转让 8类商标转让 7类商标转让 6类商标转让 5类商标转让 4类商标转让 3类商标转让 2类商标转让 1类商标转让 T恤商标转让 红酒商标转让 黄酒商标转让 水饺商标转让 糖果商标转让 闲置商标转让 商标购买网站 月饼商标转让 购买月饼商标 购买牛奶商标 牛奶商标转让 购买餐饮商标 餐饮商标转让 啤酒商标转让 购买啤酒商标 购买酒类品牌 酒类品牌转让 购买饮料商标 饮料商标转让 食品商标转让 购买食品商标 购买镀膜商标 镀膜商标转让 机油商标转让 购买机油商标 头枕商标转让 购买头枕商标 车衣商标转让 购买车衣商标 购买车贴商标 车贴商标转让 凉垫商标转让 睡袋商标转让 包子商标转让
联系方式
【商标网】
企业QQ:1728988888
手机: 18211558558
官方微信:K58158
广东(总部)北京(分部)深圳(分部)

*截止
,共有人阅读了本文。


40
加工服务