日前,运营商财经网从企查查处得知,长城汽车股份有限公司(以下简称“长城汽车”)WEY品牌商标争议有了新进展,时隔一年,长城汽车做的努力似乎没有白费,但运营商财经网发现,长城WEY商标仍存在三大争议。

争议一:注册时用在空气芳香剂、化妆品等日化用品品类
运营商财经网发现,“WEY”商标是长城汽车在2016年11月15日申请注册,当初注册时指定使用在第3类的空气芳香剂、非医用洗浴制剂、清洁制剂、抛光制剂、磨光制剂、香精油、化妆品、非医用漱口剂、香、动物用化妆品等商品上。
但长城汽车却将其用在汽车品牌上,虽然不清楚WEY商标此后有无更改类别,但这是否违反规定?当然,或者还有别的原因也犹未可知。

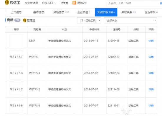
不仅如此,运营商财经网发现,长城汽车的魏派、哈弗等诸多商标也注册在日化用品品类中,不过新注册的要走高端路线的WEYRSI是注册在12运输工具品类里的。

运营商财经网向专业人士了解到,对于驰名商标,可以用于公司的其他商品上,但据运营商财经网了解,长城汽车公司的商标为驰名商标可以使用,但WEY商标并非为驰名商标,长城汽车这种做法是不是也合理呢?对于此疑问,运营商财经网采访了长城WEY品牌公关经理,对方以不了解、不清楚为由未作出回答。
争议二:注册时已有引证商标注册 早于WEY品牌11年
在一审判决中,原国家工商行政管理总局商标评审委员会表示,针对长城汽车WEY商标的注册申请,商标局作出《商标部分驳回通知书》,决定:一、初步审定在第3类:“空气芳香剂”上使用该商标的注册申请,予以公告。二、驳回在第3类:“非医用洗浴制剂,清洁制剂,抛光制剂,磨光制剂,香精油,化妆品,非医用漱口剂,香,动物用化妆品”上使用该商标的注册申请。
同时商标局表示,上海维尔雅化妆品有限公司早在2005年1月27日就申请注册了“WEYSARE CKIN及图”商标,核定使用在第3类的香波、洗涤剂、去污剂、擦亮用剂、磨光制剂、化妆品用香料等商品上,专用期限自2008年4月7日至2018年4月6日。
不过,长城汽车WEY商标2016年11月15日申请注册,因商标驳回判定作出时,上海维尔雅化妆品公司的商标仍在宽展期内,系有效的在先注册商标,因此长城汽车WEY驳回。
争议三:长城公司WEY商标案由败到胜是否钻了空子?
不过,长城公司对此表示不服,称“长城汽车公司是最大的SUV和皮卡制造企业,“WEY”商标已具有较高的知名度。且诉争商标与引证商标在字母构成、整体外观、含义等方面差异明显,未构成使用在类似商品上的近似商标。”

因为一审时,上海维尔雅化妆品公司的商标宽展期到2018年4月6日,长城公司在2018年8月20日案件审理后有效期内又向法院提起诉讼,“引证商标因期满未续展其专用权期限已终止,不再成为本案诉争商标的在先权利障碍……被诉决定应予撤销。”
运营商财经网从企查查上了解到,法院二审判决最多指出,也是二审的重要依据,就是“鉴于情势变更事由发生”。
不过,值得关注的是长城汽车二审胜诉,法院通过长城汽车WEY商标使用权,从启信宝可知,目前WEY商标状态为等待实质审查。此外,就运营商财经网了解,长城汽车WEY商标2016年11月15日申请注册,11月16日就在广州发布WEY品牌发布会,时间非常紧凑。
上一篇:擅用“大董”商标,一审认定侵权
下一篇:证明商标
便捷链接:长城WEY商标仍存三大争议
本文来源:网络?买卖商标注册授权入驻“天猫”“京东”“拼多多”“抖音头条”“商标百科”
版权说明:上述为转载或编者观点,不代表亿佰倍懂商标意见,不承当任何法律责任
亿佰倍懂商标官方微信
欢迎关注亿佰倍懂
微信号:K58158 热门TAGS
购买上海商标 商标复审 商标撤三答辩 商标驳回复审 国际商标驳回 知名商标转让 白酒商标网 19类商标转让 18类商标转让 17类商标转让 16类商标转让 15类商标转让 14类商标转让 13类商标转让 11类商标转让 12类商标转让 10类商标转让 9类商标转让 8类商标转让 7类商标转让 6类商标转让 5类商标转让 4类商标转让 3类商标转让 2类商标转让 1类商标转让 T恤商标转让 红酒商标转让 黄酒商标转让 水饺商标转让 糖果商标转让 闲置商标转让 商标购买网站 月饼商标转让 购买月饼商标 购买牛奶商标 牛奶商标转让 购买餐饮商标 餐饮商标转让 啤酒商标转让 购买啤酒商标 购买酒类品牌 酒类品牌转让 购买饮料商标 饮料商标转让 食品商标转让 购买食品商标 购买镀膜商标 镀膜商标转让 机油商标转让 购买机油商标 头枕商标转让 购买头枕商标 车衣商标转让 购买车衣商标 购买车贴商标 车贴商标转让 凉垫商标转让 睡袋商标转让 包子商标转让
联系方式
【商标网】
企业QQ:1728988888
手机: 18211558558
官方微信:K58158
广东(总部)北京(分部)深圳(分部)

*截止
,共有人阅读了本文。


40
加工服务