近期,美国专利及商标局公布了一批全新的AR/VR专利,以下是一品知识产权整理的,一共20篇。关注一品知识产权网,更多精彩内容等着你。点击: 如需咨询,欢迎扫描文字下方二维码联系我们!
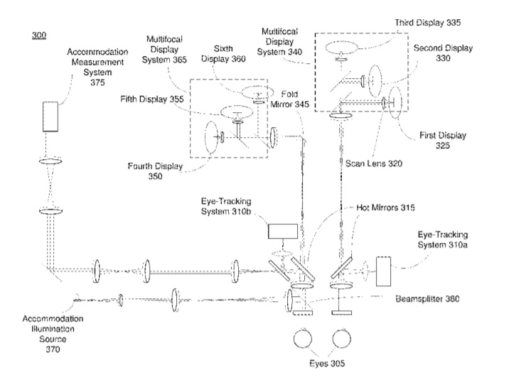
1. 《Facebook Patent | Multifocal Test System(Facebook专利:多焦点测试系统)》

专利描述了多焦点测试系统。所述系统包括位于不同焦距的多个显示器。每个显示器包括具有像素强度值的多个像素。所述系统包括眼动追踪系统,后者用于确定眼睛相对于显示器位置的眼动追踪信息。控制组件配置为基于跨多个显示器的场景的分解,以及眼睛位置来确定像素强度值。
2. 《Facebook Patent | Positional Tracking Assisted Beam Forming In Wireless Virtual Reality Systems(Facebook专利:无线虚拟现实系统中的由位置追踪提供辅助的波束形成)》

专利描述的实施例支持无线耦合到主机的头显。头显包括位置追踪系统,光束控制器和收发器。位置追踪系统追踪头显的位置,并产生描述头显追踪位置的位置信息。收发器根据通信指令并通过无线信道与主机通信,所述通信指令致使收发器通过多个定向波束的一个定向波束进行通信。光束控制器确定位置信息的变化。根据位置信息的改变,波束控制器确定多个定向波束的定向波束。波束控制器同时产生识别所确定的定向波束的通信指令,并将通信指令提供给收发器。
3. 《Facebook Patent | Electromagnetic Connections For Dynamically Mating And Un-Mating A Wired Head-Mounted Display(Facebook专利:用于动态匹配和取消配对系留头显的电磁连接)》

用于电连接电子设备的装置包括第一连接器,所述第一连接器包括电磁体。所述装置同时包括第二连接器,所述第二连接器包括磁性元件并且可拆卸地连接到第一连接器。电磁铁可通电,从而能够选择性地连接和分离第一连接器和第二连接器。所述装置同时包括可连接到电磁铁的力传感器,后者用于测量第一连接器和第二连接器之间的耦合力,并根据耦合力传输信号。所述装置包括可连接到力传感器的控制组件,后者用于接收来自力传感器的信号。控制组件可连接到电源并控制电磁铁。
4. 《Facebook Patent | Haptic Devices That Simulate Rigidity Of Virtual Objects(Facebook专利:模拟虚拟对象刚度的触觉设备)》

专利描述的实施例涉及用于通过控制触觉组件的表面区域来向用户提供触觉反馈的系统和方法。 可以致动触觉组件,从而调节触觉组件的表面区域。可以通过修改触觉组件的形状来改变触觉组件的表面区域。通过改变触觉组件的形状,可以模拟具有特定刚度的虚拟对象。
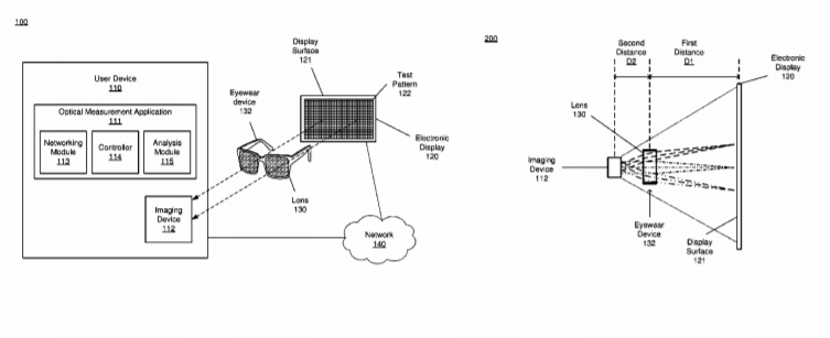
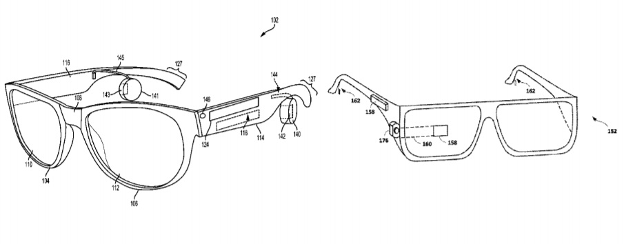
5. 《Facebook Patent | Measuring Optical Properties Of An Eyewear Device(Facebook专利:测量眼镜设备的光学特性)》

用户设备包括成像组件和控制组件。根据来自控制组件的成像指令,成像组件通过眼镜设备的镜片捕获测试图的一个或多个图像,并且不通过镜片捕获测试图。控制组件生成成像指令,并将成像指令提供给成像组件。控制组件根据透过镜片捕获的测试图,以及未透过镜片捕获的测试图来确定眼镜设备的一个或多个光学参数。光学参数可以包括镜片的光学能力或眼镜设备的瞳孔间距离。
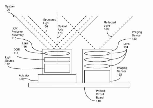
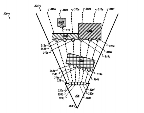
6. 《Facebook Patent | Systems And Methods For A Movable Structured Light Projector(Facebook专利:可移动结构光投影仪的系统和方法)》

用于可移动结构光投影仪的系统可包括:光投射器组件,用于接收光控制信号,并根据光控制信号将结构光投射到局部区域;成像组件,用于接收捕获控制信号,并根据捕获控制信号捕获来自局部区域的结构光反射;以及耦合到光投射器组件的致动器,其用于接收致动器控制信号,并根据致动器控制信号相对于成像组件移动光投射器组件。
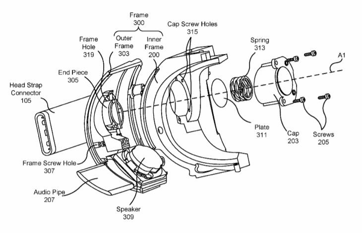
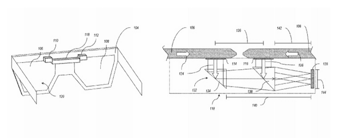
7. 《Facebook Patent | Detachable Strap Hinge Mechanism For Head-Mounted Display(Facebook专利:用于头显的可拆卸头带合页)》

专利描述了一种用于头显头带连接器的可旋转合页。可旋转合页包含摩擦元件,并允许头带连接器相对于头显进行旋转。可旋转合页包含连接到头带连接器的端部件,通过将端部件插入至头显腔体,并使端部件在腔体中旋转,可实现与头显的互相锁定。
8. 《Microsoft Patent | Application Of Edge Effects To 3d Virtual Objects(微软专利:将边缘效果应用至3D虚拟对象)》

为了将边缘效果应用至3D虚拟对象,显示系统接收说明3D虚拟对象的期望显示区域的用户输入,定义与期望显示区域对应的边界体积,并且将3D虚拟对象的边缘剪切为边界体积的表面。显示系统将视觉边缘效果应用于3D虚拟对象的一个或多个剪切边缘,并且利用视觉边缘效果向用户显示3D虚拟对象。
9. 《Microsoft Patent | Object Holographic Augmentation(微软专利:对象全息增强)》

专利描述了通过混合现实设备来增强现实世界对象的设备,系统和方法。所述方法涉及捕获现实世界对象的图像数据;根据图像数据自动分类现实世界对象;根据分类自动识别软件应用;将软件应用与现实世界对象相关联;混合现实设备执行所述软件应用。
10. 《Microsoft Patent | Attribute Detection Tools For Mixed Reality(微软专利:用于混合现实的属性检测工具)》

专利所述的技术包含名为HoloPaint的混合现实工具,其可以利用多种传感器的任意一个来确定混合现实环境中的真实对象的物理参数。HoloPaint可以将现实世界的当前测量值与过去的测量值相关联,从而执行库管理,分析真实物体和环境的物理参数变化等等。通过选择特定类型的虚拟涂料,用户可以选择要分析的参数。
11. 《Microsoft Patent | Display Active Alignment System For Waveguide Displays(微软专利:波导显示器的显示器主动对准系统)》

专利描述了一种显示系统,其包括显示器对准追踪器。显示器对准追踪器配置为追踪第一信号的位置和第二信号的位置。显示器对准追踪器将第一信号的一部分和第二信号的一部分多路复用为组合的光信号,并测量第一信号和第二信号之间的差分。
12. 《Apple Patent | Rendering Road Signs During Navigation(苹果专利:在导航期间渲染路标)》

专利描述了一种在导航演示期间渲染道路标志的导航应用。在渲染道路标志时,应用程序区分在交叉路口位置的路标外观。应用程序可以以美学上令人愉悦的方式在地图排列路志。另外,导航应用程序不在导航路线显示太多的路标,以防行进路线被太多路标遮挡。
13. 《Google Patent | Image Based Rendering Techniques For Virtual Reality(用于虚拟现实的基于图像的渲染技术)》

专利描述了一种用于虚拟现实的基图渲染(基于图像的渲染)技术。在某些情况下,随着对象的几何复杂性增加,渲染对象所需的时间将会有所增加。例如,基图渲染技术可以是纹理映射。在另一示例中,分层深度图像(Layerd Depth Image;LDI)可以是基于图像的技术,并可用于表示和渲染具有复杂几何形状的对象。用于表示和渲染对象的基图渲染技术的选择可以取决于对象的复杂性。 可以确定一种基于图像的技术来最小化图像渲染时间。
14. 《Google Patent | Voice-Based Realtime Audio Attenuation(谷歌专利:基于语音的实时音频衰减)》

专利描述的实施例涉及通过第一音频信号驱动可穿戴设备的音频输出模型,然后通过至少一个麦克风接收包含第一环境噪音的第二音频信号。设备可以确定第一环境噪音表示用户语音,并且相应地避开第一音频信号。当第一音频信号被避开时,设备可以在第二音频信号的后续部分中检测第二环境噪声,并确定第二环境噪声表示环境语音。根据这一确定,设备可以继续避开第一音频信号。
15. 《Google Patent | Three-Dimensional Telepresence System(谷歌专利:三维远程呈现系统)》

专利描述的远程呈现终端包括透镜显示器,图像传感器,红外发射器和红外深度传感器。终端可以利用由红外发射器发射并由图像传感器捕获的可见光来确定图像数据,并使用由红外深度传感器捕获的红外光来确定深度数据。终端同时可以将深度数据和图像数据传送到远程呈现终端,并接收远程图像数据和远程深度数据。根据可从第一查看位置查看的远程图像数据,终端可以通过透镜显示器生成第一显示图像,并且根据可从第二查看位置查看的远程深度数据,终端可以通过透镜显示器生成第二显示图像。
16. 《Google Patent | Pose Estimation Of 360-Degree Photos Using Annotations(谷歌专利:使用注释对360度照片进行姿态估计)》

专利主要描述了优化图像位置和方向的信息。例如,可以接收图像,以及包含图像方向和位置的相关姿态数据。可以在图像中确定捕获的一个或多个位置,其中每个位置具有相应的已知位置。可以利用一个或多个位置注释图像。可以最小化每个注释与各自已知位置之间的差异,从而获得图像的更新姿态数据,并且可以将关联的姿态数据更新为更新的姿态数据。
17. 《Qualcomm Patent | Oriented Image Stitching For Spherical Image Content(高通专利:球面图像内容的定向图像拼接)》

专利描述了与生成图像内容有关的技术。GPU配置为接收从第一位置的第一摄像头组件生成的第一组图像,其中第一摄像头组件具有第一方向;渲染用于显示的第一组图像;接收从第二位置的第二摄像头组件生成的第二组图像,其中第二摄像头组件具有第二方向,第二方向与第一方向不同;并且渲染用于显示的第二组图像。
18. 《Sony Patent | Display Control Device, Display Control Method, And Computer Program(索尼专利:显示控制组件,显示控制方法及计算机程序)》

专利描述了一种显示控制组件,其能够在用户使用透视性头显时维持用户的视场,并同时保证用户的安全。所述显示控制组件包括:情景获取单元,其配置为获取关于情景的信息;以及显示控制单元,其配置为使用由情景获取单元获取的信息对透视显示器执行显示控制,并致使显示信息逐渐变得清晰可见。
19. 《Sony Patent | Rendering Virtual Images Based On Predicted Head Posture(索尼专利:根据预测的头部姿态渲染虚拟图像)》

生成预测用户头部运动的图像。在绘制组件中,根据已经接收到姿态角度数据预计接下来要接收的姿态角度数据,并且根据预测的姿态角度数据对图像执行渲染处理。用于姿态角度数据的预测算法大致分为两个步骤:估计接收姿态角度数据的预测时间;在预测期间时预测姿态角度数据。通过在预测期间利用预测的姿态角度数据来渲染图像,这可以减少用户在移动头部时可以感知的延迟感。
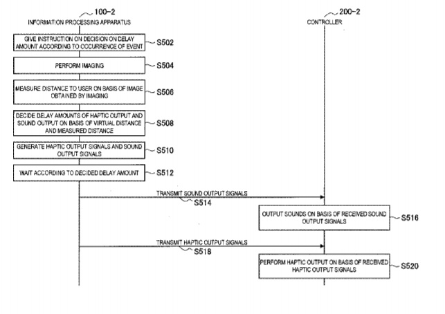
20. 《Sony Patent | Information Processing Apparatus, Information Processing System, And Information Processing Method For Haptic Output Based On Distance-Related Delay(索尼专利:基于距离相关延迟的触觉输出信息处理装置,信息处理系统及信息处理方法)》

专利描述了一种信息处理装置,所述的信息处理装置包括:延迟量决定单元,其配置为根据虚拟空间中的事件发生位置来判定由于事件发生而产生的触觉输出的延迟量;触觉输出空间单元,其配置为根据延迟量决定单元所决定的延迟量来推迟触觉输出。
如需咨询,欢迎扫描文字下方二维码联系我们!

上一篇:做食品行业需要注册哪些商标?
下一篇:图形用户界面外观设计专利的司法保护
便捷链接:美国专利局最新AR/VR专利报
本文来源:网络?买卖商标注册授权入驻“天猫”“京东”“拼多多”“抖音头条”“商标百科”
版权说明:上述为转载或编者观点,不代表亿佰倍懂商标意见,不承当任何法律责任
亿佰倍懂商标官方微信
欢迎关注亿佰倍懂
微信号:K58158 热门TAGS
购买上海商标 商标复审 商标撤三答辩 商标驳回复审 国际商标驳回 知名商标转让 白酒商标网 19类商标转让 18类商标转让 17类商标转让 16类商标转让 15类商标转让 14类商标转让 13类商标转让 11类商标转让 12类商标转让 10类商标转让 9类商标转让 8类商标转让 7类商标转让 6类商标转让 5类商标转让 4类商标转让 3类商标转让 2类商标转让 1类商标转让 T恤商标转让 红酒商标转让 黄酒商标转让 水饺商标转让 糖果商标转让 闲置商标转让 商标购买网站 月饼商标转让 购买月饼商标 购买牛奶商标 牛奶商标转让 购买餐饮商标 餐饮商标转让 啤酒商标转让 购买啤酒商标 购买酒类品牌 酒类品牌转让 购买饮料商标 饮料商标转让 食品商标转让 购买食品商标 购买镀膜商标 镀膜商标转让 机油商标转让 购买机油商标 头枕商标转让 购买头枕商标 车衣商标转让 购买车衣商标 购买车贴商标 车贴商标转让 凉垫商标转让 睡袋商标转让 包子商标转让
联系方式
【商标网】
企业QQ:1728988888
手机: 18211558558
官方微信:K58158
广东(总部)北京(分部)深圳(分部)

*截止
,共有人阅读了本文。


40
加工服务