原告:北京安柯塞姆教育科技有限责任公司
第一被告人:原告前总裁黄先生
第二被告人:北京蓝莓果教育科技有限公司
第三被告人:北京天灿联创教育科技有限责任公司
案件经过
原告诉称,“山姆大叔英语”是一家少儿英语机构,经过原告多年诚信经营,现已成为少儿英语教育领域的知名品牌,广为相关消费者所熟知。

2013年津桥国际教育(集团)设立原告安柯塞姆公司,全权运作“山姆大叔英语”专业少儿英语教育,并于2014年将“山姆大叔”转让给原告。

(“山姆大叔”商标)
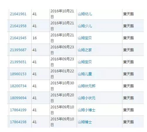
而被告黄先生于2013年10月20日至2016年10月19日期间,担任原告公司总裁一职,并于在职期间及离职后三日内申请注册包含“山姆”文字的系列商标共计十项。并将上述注册商标突出使用于被告二蓝莓果公司、被告三天灿联创公司的网站宣传中。

(被告注册的商标)
被告在其运营的网站上未经原告许可,擅自使用与“山姆大叔”商标近似标识。还在其运营的网站上使用“山姆博士少儿英语”字样实施了宣传推广行为,并将山姆大叔少儿英语网站作为其友情链接。
被告的行为均是企图诱导消费者认为被告提供的服务与原告存在一定联系,从而导致消费者的混淆误认,据此谋取不正当利益,不但挤占了原告的市场份额,还造成了原告严重的经济损失。
原告认为,被告在明知“山姆大叔”市场知名度较高的前提下,恶意与“山姆”相关的商标共计十项,侵权故意明显。要求被告停止侵权、停止实施不正当竞争行为、删除网站上的侵权内容、赔礼道歉并赔偿经济损失314余万元。
案件分析
本案的重点在于,被告申请注册的商标,是在其就任“山姆大叔”总裁期间,以及离职之后进行注册的,且与原告“山姆大叔”的商标相似。
根据我国《商标法》第三十二条,申请商标注册不得损害他人现有的在先权利,也不得以不正当手段抢先注册他人已经使用并有一定影响的商标。
本案中,这位黄总裁早就打好了如意算盘,主观恶意明显,就是要让消费者混淆以此抢占市场。违反了基本的商业道德,导致原告特定民事权益受到损害,属于恶意抢注行为。
恶意抢注
商标使用人商标意识的匮乏,导致如今出现越来越多商标抢注案例。恶意抢注包括两个方面的内容,恶意的主观心理状态和提出商标申请的客观行为。虽然商标法遵循“在先申请原则”,甚至可以说鼓励“抢先注册”,但是必须建立在符合诚信的原则基础上。
那么如何认定恶意的主观心理状态呢?只要证明申请人明知或者应知他人已经使用并有一定影响的商标而予以抢注,即可认定其采用了不正当手段。
对于原有商标是否具有影响力,在司法过程中也是有弹性的。基本要求是使用了一定时间并具有一定的销售量,或者有一些广告宣传。
如果当事人在不同的地区,对商标知名度的要求就可以高一点,在同一地区,要求就可以低一点;没有直接接触,对商标知名度的要求就可以高一点,有直接接触,要求就低一点;
作为企业,如果发现跟自己有关的商标有被恶意抢注的情况,作为权利人可以有两个法律途径来主张权利:
1、就初审公告的商标向商标局提出异议。根据商标法第三十条的规定,“对初审公告的商标,自公告之日起3个月内,任何人均可以提出异议。”权利人认为自己的商标被他人恶意抢先申请注册的,如果在该商标初步审定公告期内及时发现,可以向商标局提出异议,请求商标局不予核准注册。
2、就已经注册的商标向商标评审委员会提出争议。根据商标法第四十一条的规定,权利人认为自己的商标被他人恶意抢先注册的,可以自该商标注册之日起5年内,向商标评审委员会申请撤销。
山姆的前总裁恶意抢注的行为可以说板上钉钉了,真是大水冲了龙王庙,自家人坑自家人。除了依靠法律法规的修改和完善之外,作为企业的管理者,更需要提高商标保护意识,采取相应的措施,以保护企业的品牌和文化。
便捷链接:商标抢注,企业起诉自家
本文来源:网络?买卖商标注册授权入驻“天猫”“京东”“拼多多”“抖音头条”“商标百科”
版权说明:上述为转载或编者观点,不代表亿佰倍懂商标意见,不承当任何法律责任
亿佰倍懂商标官方微信
欢迎关注亿佰倍懂
微信号:K58158 热门TAGS
购买上海商标 商标复审 商标撤三答辩 商标驳回复审 国际商标驳回 知名商标转让 白酒商标网 19类商标转让 18类商标转让 17类商标转让 16类商标转让 15类商标转让 14类商标转让 13类商标转让 11类商标转让 12类商标转让 10类商标转让 9类商标转让 8类商标转让 7类商标转让 6类商标转让 5类商标转让 4类商标转让 3类商标转让 2类商标转让 1类商标转让 T恤商标转让 红酒商标转让 黄酒商标转让 水饺商标转让 糖果商标转让 闲置商标转让 商标购买网站 月饼商标转让 购买月饼商标 购买牛奶商标 牛奶商标转让 购买餐饮商标 餐饮商标转让 啤酒商标转让 购买啤酒商标 购买酒类品牌 酒类品牌转让 购买饮料商标 饮料商标转让 食品商标转让 购买食品商标 购买镀膜商标 镀膜商标转让 机油商标转让 购买机油商标 头枕商标转让 购买头枕商标 车衣商标转让 购买车衣商标 购买车贴商标 车贴商标转让 凉垫商标转让 睡袋商标转让 包子商标转让
联系方式
【商标网】
企业QQ:1728988888
手机: 18211558558
官方微信:K58158
广东(总部)北京(分部)深圳(分部)

*截止
,共有人阅读了本文。


40
加工服务