鹿晗,可以说是当下娱乐圈的流量小天王,吸金能力也是一流。然而最近鹿晗却跟一枚杠上了。

南京鹿晗影视文化工作室认为“雅鹿晗”的商标持有人,损害了鹿晗的姓名权,存在主观恶意,导致公众误认等。而商评委也支持了这一理由,认为争议商标损害了在先姓名权,违反了《商标法》第三十二条规定,裁定争议商标予以无效宣告。
其实除了雅鹿晗以外,小铭还发现了别的鹿晗,比如

为了蹭名气也真是脑洞大开了..
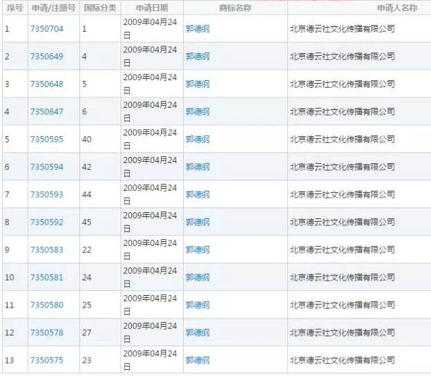
虽然商标法中有“在先姓名权”可以作为保护,但是对于明星大咖来说,自己的名字如果被注册到去污剂、磨牙剂上,那也是非常糟糕的一件事。在对自己姓名权的保护上,相比小鲜肉,郭德纲就是一位深谋远虑的主~他早早的就对自己的名字申请了全类别保护。

不得不佩服郭德纲的老谋深算啊,想要蹭他名气一点机会也没有,然而,像郭德纲这么有权利意识的明星不太多,小铭手痒去查询了一番,发现许多明星的名字都已经遭了毒手..
不论是00的小鲜肉

还是音乐天王周董

歌神张学友也没被放过

名字被注册商标也就算了,在类别上也是千奇百怪,有食品的,服装的,婴儿用品的,明星看到后怕是会欲哭无泪。
虽然这些抢注的商标大部分都不会被通过,小部分被通过后也不敢使用,被明星发现一定会惹来官司。但是这些注册也实在是让人哭笑不得,建议各位如果觉得自己日后一定会辉煌腾达,出现在电视上,那么现在一定要保护好自己的姓名商标喔~
便捷链接:是什么让可爱阳光的男神
本文来源:网络?买卖商标注册授权入驻“天猫”“京东”“拼多多”“抖音头条”“商标百科”
版权说明:上述为转载或编者观点,不代表亿佰倍懂商标意见,不承当任何法律责任
亿佰倍懂商标官方微信
欢迎关注亿佰倍懂
微信号:K58158 热门TAGS
购买上海商标 商标复审 商标撤三答辩 商标驳回复审 国际商标驳回 知名商标转让 白酒商标网 19类商标转让 18类商标转让 17类商标转让 16类商标转让 15类商标转让 14类商标转让 13类商标转让 11类商标转让 12类商标转让 10类商标转让 9类商标转让 8类商标转让 7类商标转让 6类商标转让 5类商标转让 4类商标转让 3类商标转让 2类商标转让 1类商标转让 T恤商标转让 红酒商标转让 黄酒商标转让 水饺商标转让 糖果商标转让 闲置商标转让 商标购买网站 月饼商标转让 购买月饼商标 购买牛奶商标 牛奶商标转让 购买餐饮商标 餐饮商标转让 啤酒商标转让 购买啤酒商标 购买酒类品牌 酒类品牌转让 购买饮料商标 饮料商标转让 食品商标转让 购买食品商标 购买镀膜商标 镀膜商标转让 机油商标转让 购买机油商标 头枕商标转让 购买头枕商标 车衣商标转让 购买车衣商标 购买车贴商标 车贴商标转让 凉垫商标转让 睡袋商标转让 包子商标转让
联系方式
【商标网】
企业QQ:1728988888
手机: 18211558558
官方微信:K58158
广东(总部)北京(分部)深圳(分部)

*截止
,共有人阅读了本文。


40
加工服务